Warning: California Proposition 65
Warning: This product contains chemicals known to the State of California to cause cancer, and birth defects or other reproductive harm.
www.P65Warnings.ca.gov
| Brand |
Reference Numbers |
|
Alliance
|
ABP N32 019974
|
|
Automann
|
566.ER9974, AB1DK23P‑9974, 566.CT67586, AB1DK23M‑A888
|
|
Contitech
|
67586, 9 10‑17.5 A 930, 910‑17 5A930
|
|
Firestone
|
W01‑358‑9974
|
|
Goodyear
|
1R121048, 1R12‑1048
|
|
Holland (Neway)
|
90557332, 90557369
|
|
Meritor
|
MAF9974, FS9974
|
|
Misc
|
HDV9974, AS9974, AS‑8930, 67587, AS99740, ASPR9M1759974, 72899
|
|
Neway
|
90557332, 905‑57‑332, 90557369
|
|
Triangle
|
8930, AS‑8930, AS‑8888
|
|
Sampa
|
SP559974‑KA, SP 559974‑KA, SP559974KA
|
| Property |
Value |
|
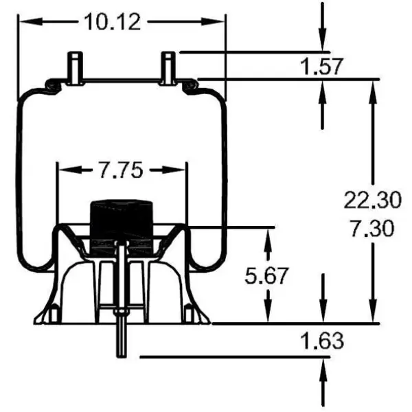
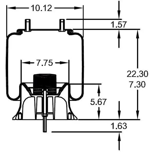
Extended Height
|
22.30"
|
|
Compressed Height
|
7.30"
|
|
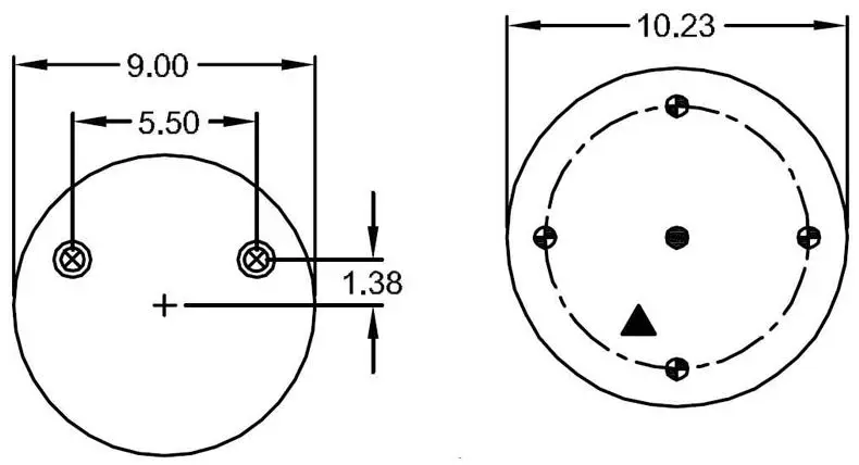
Top Plate Width
|
9.00"
|
|
Piston Width
|
10.23"
|
|
Weight
|
22.00 lbs
|